欢迎光临浙江品宣电力科技有限公司 !!!
当前位置:主页 > 新闻中心
一些电缆附件的故障案例分析
时间:2021-08-04 15:35:47 点击次数:1360

本文主要介绍一些在实际应用中出现的电缆附件故障案例,通过这些案例来学习电缆附件各类故障的因素以及解决方案。

(一)、10kV冷浇注树脂中心接头击穿

故障原因:

因为中心接头连管压接不紧,电阻增大,导电体发热温升过高,导致绝缘碳化,以至于相间击穿。

(二)、10kV热缩终端击穿毛病

故障原因:

应控管体积电阻率过低,击穿毛病一般呈现于应控管以上;

应控管体积电阻率过高,击穿毛病一般呈现于应控管以内。

(三)、35kV热缩电缆附件应控管邻近电晕

原因分析:

电缆屏蔽未端及应控管内部因为存在气隙,在高压电场下产生电晕。

(四)、10kV热缩电缆附件中心头反应力锥处击穿

故障原因:

因为中心接头没有切削反应力锥,衔接收与绝缘衔接处电场骤变,导致击穿。

(五)、35kV预制野外电缆附件爬穿

故障原因:

因为野外终端绝缘套内孔孔径过大,与电缆绝缘过盈不到1mm,界面压紧力不够而爬穿。

(六)、35kV预制中心接头爬穿

故障原因:

因为预制中心头半导电层脱碳,加上过盈量太小,为1mm,导致界面压力缺乏,而爬穿。

(七)、10kV冷缩电缆附件接头击穿

故障原因:

因为衔接收压接后伸长过长,装置尺度没有在中心,而偏向一端,形成衔接收脱离屏蔽套,电场无法改进而击穿。

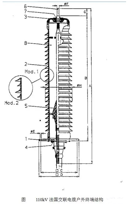
(八)、法国110kV交联电缆野外终端事端

故障原因:

因为上部密封规划不良,形成进水,终端受潮短路而击穿。

(九)、110kV交联电缆野外终端事端

故障原因:

因为施工时电缆剥切尺度弄错,绝缘屏蔽多剥掉130mm,结果使得应力锥脱开绝缘屏蔽70mm,无法改进电场,而运行一年后击穿。

(十)、110kV预制中心接头爬穿

故障原因:

因为施工装置时,箍在接头连管外的金属均压套凹槽中的恒力弹簧尾部没有包扎好,形成套入绝缘套时,严重划伤绝缘套内外表形成爬电通道而击穿。